ワンタッチでホースと配管を接続するカップリング


| 材質 | ステンレス(SCS14A)/アルミ/ブロンズ | ||||
|---|---|---|---|---|---|
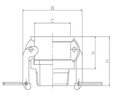
| 品番 | サイズ(inch) | サイズ(㎜) | |||
| B | C | h | H | ||
| B | 1/2 | 54 | 33 | 33 | 53 | 
| B | 3/4 | 54 | 33 | 38 | 53 | 
| B | 1" | 60 | 37 | 38 | 59 | 
| B | 1-1/4 | 83 | 46 | 44 | 68 | 
| B | 1-1/2 | 90 | 54 | 44 | 69 | 
| B | 2" | 95 | 64 | 51 | 75 | 
| B | 2-1/2 | 114 | 77 | 54 | 84 | 
| B | 3" | 139 | 92 | 54 | 88 | 
| B | 4" | 169 | 121 | 56 | 90 | 
| アームロックカップリングの使用上のご注意 | |||||
|---|---|---|---|---|---|
| ① | 管に振動がある場合、カムレバーが開くことがあり危険です。レバーロック(オプション)などでレバーを固定して下さい。 上下使用の場合は、アダプターを上側に取り付けることを推奨します。  | 
||||
| ② | ねじ込み時には、ねじ部の異物やバリなどを除きシール材を塗布(シールテープを巻く等)し、適正なトルク(締め過ぎると 本体が破損し、緩過ぎると漏れます)で締め付けて下さい。 取付け後に本体や各部品に変形や傷、脱落、物の付着等の異常が無いことを確認して下さい。  | 
||||
| ③ | カムレバーを操作する前に、必ず、内圧・残圧や残留物が無いことを確認して下さい。内圧のある状態でカムレバーを開くとカップリングやキャップ、プラグが飛び出しますので危険です。 また、内部流体も流出(噴出)して危険です。  | 
||||
| ④ | カムレバーを開閉する時、ハンマーや過長な延長補助ハンドルは使用しないで下さい。カムレバーが折れ、本体の破損の原因になります。 | ||||
| ⑤ | ホースなどを持ってカプラーを引き回すと、カムレバーが床や障害物に接触して開いたり、折れたりすると大変危険な状態になります。引き回しは避けて下さい。 | ||||
| ⑥ | カムレバーを閉じる際、本体との間に指を挟む危険があります。本体との間に指を入れず、カムレバーを手の平で押して閉めて下さい。 | ||||
| ⑦ | カムレバーはステンレス焼結金属製のため、流体によっては直接かかることで粉末化する場合があります。 また、アームロックカップリングを洗浄する際は、カムレバーを取り外し、洗浄してください。  | 
||||
| ⑧ | PTFEアコーディオンガスケットをカプラーに使用する際、カムレバーの初期締め付けが硬くなります。 配管前にカプラーとアダプターをセットしてバイス等で締め込み、なじませてからご使用していただくことを推奨します。  | 
||||
| ⑨ | ご使用になり流体の種類、圧力、温度などの条件より適正な材質を選定下さい。 また、不明な点は弊社に問い合わせ下さい。  | 
||||