未使用ポートを確実に塞ぐ、真空用ブラインドキャップ

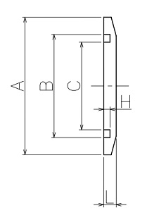
| 材質 | ステンレス304/316L | ||||
|---|---|---|---|---|---|
| サイズ | A | B | C | H | L |
| NW-10 | 30 | 12.2 | 6 | 2.5 | 5 |
| NW-16 | 30 | 17.2 | 11 | 2.5 | 5 |
| NW-25 | 40 | 26.2 | 20 | 2.5 | 5 |
| NW-40 | 55 | 41.2 | 35 | 2.5 | 5 |
| NW-50 | 75 | 52.2 | 46 | 2.5 | 5 |
| NW-63 | 87 | 70.2 | 64 | 2.5 | 5 |
| NW-80 | 114 | 83 | 73 | 6.5 | 11 |
| NW-100 | 134 | 102 | 92 | 6.5 | 11 |
| NW-160 | 190 | 153 | 143 | 6.5 | 11 |
| NW-200 | 252 | 213 | 203 | 6.5 | 11 |