loader image

株式会社コンサス株式会社コンサス

loginログイン

Products
製品情報

小口径配管をワンタッチで締結する専用クランプ

M3K ミニ3Kクランプ

特徴

POINT
各サイズご用意しております。まずはお問い合わせください。

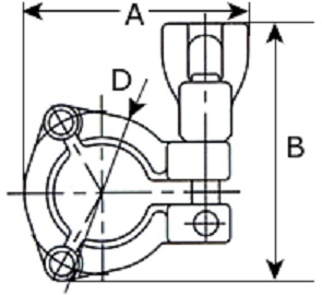
サイズ表

材質ステンレス304
サイズDAB
8A456574
10A456574
15A456574

製品資料ダウンロード

製品資料をダウンロードするには会員登録が必要になります。

mailお問い合わせ

会員登録せずに資料提供を希望される方は以下より
お気軽にお問い合わせください。

mail_outlineお問い合わせ