Close
login
ログイン
コンサスの強み
製品情報
技術情報
あったらいいなの製品事例
用語説明・技術資料
法規情報
技術情報
あったらいいなの製品事例
用語説明・技術資料
法規情報
お客様サポート
保証と免責
よくある質問
資料請求
お客様サポート
保証と免責
よくある質問
資料請求
会社案内
会社概要
代表メッセージ
海外ネットワーク
受賞・認証
会社案内
会社概要
代表メッセージ
海外ネットワーク
受賞・認証
採用情報
download
カタログDL
mail_outline
お問い合わせ
login
ログイン
download
カタログDL
mail
お問い合わせ
Products
製品情報
HOME
/
製品情報
/
ICFGP 真空用ICFゲージポート
各種真空計をUHVシステムに接続する変換ポート
ICFGP 真空用ICFゲージポート
ステンレス製継手
真空配管継手
ICF
特徴
POINT
真空計やセンサーの取付けに最適です。
POINT
特殊寸法も製作いたします。
製品詳細
材質
ステンレス304/FKM
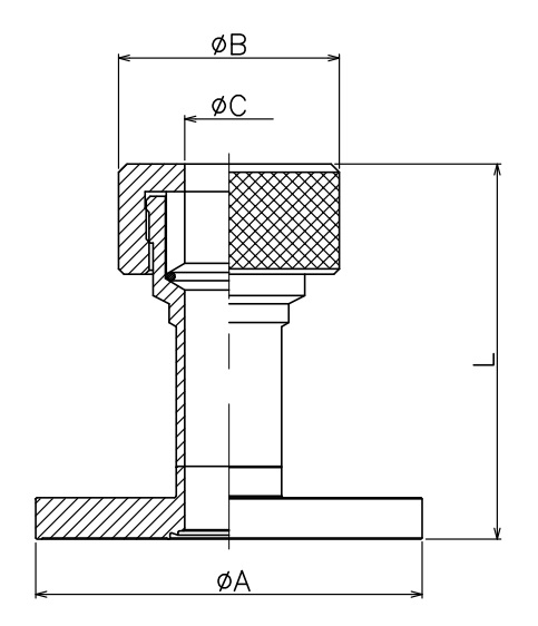
サイズ
φA
φB
φC
L
ICF34*GP15
34
40
16
68
ICF34*GP18
19
ICF70*GP15
70
16
60
ICF70*GP18
19
mail
お問い合わせ
会員登録せずに資料提供を希望される方は以下より
お気軽にお問い合わせください。
お問い合わせはこちら
arrow_forward
関連製品
ICFFF-R 真空用ICFコンフラット回転穴あきフランジ
ステンレス製継手
真空配管継手
ICF
ICFFF 真空用ICFコンフラット固定穴あきフランジ
ステンレス製継手
真空配管継手
ICF
ICFBF 真空用ICFコンフラット固定ブランクフランジ
ステンレス製継手
真空配管継手
ICF
製品を探す
ステンレス製バルブ
ステンレスボールバルブ
ステンレスバタフライバルブ
ステンレスゲートバルブ
ステンレスグローブバルブ
ステンレスチャッキバルブ
ステンレスダイヤフラムバルブ
エアー駆動バルブ
電動バルブ
その他バルブ
ステンレス製継手
サニタリー継手
溶接
ヘルール
ユニオン
機器類
海外規格継手
3A
DIN
SMS
RJT
真空配管継手
NW
ICF
JIS
ISO
アームロックカップリング
その他
mail_outline
お問い合わせ