Close
login
ログイン
コンサスの強み
製品情報
技術情報
あったらいいなの製品事例
用語説明・技術資料
法規情報
技術情報
あったらいいなの製品事例
用語説明・技術資料
法規情報
お客様サポート
保証と免責
よくある質問
資料請求
お客様サポート
保証と免責
よくある質問
資料請求
会社案内
会社概要
代表メッセージ
海外ネットワーク
受賞・認証
会社案内
会社概要
代表メッセージ
海外ネットワーク
受賞・認証
採用情報
download
カタログDL
mail_outline
お問い合わせ
login
ログイン
download
カタログDL
mail
お問い合わせ
Products
製品情報
HOME
/
製品情報
/
NWVGA 真空変換継手 NWフランジxVGフランジ
異なる真空規格(NW・VG)を柔軟に接続
NWVGA 真空変換継手 NWフランジxVGフランジ
ステンレス製継手
真空配管継手
NW
JIS
特徴
POINT
特殊寸法も製作いたします。
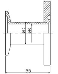
サイズ表
材質
ステンレス304/316L
サイズ
φB
φC
NW16*VG20
17.5
21.7
NW16*VG25
NW16*VG40
NW25*VG20
23
27.2
NW25*VG40
NW25*VG50
NW40*VG20
37.1
42.7
NW40*VG25
NW40*VG40
NW40*VG50
NW40*VG65
NW50*VG25
54.9
60.5
NW50*VG40
NW50*VG50
NW50*VG65
NW50*VG80
mail
お問い合わせ
会員登録せずに資料提供を希望される方は以下より
お気軽にお問い合わせください。
お問い合わせはこちら
arrow_forward
関連製品
NW-F 真空用NWショートフランジ
ステンレス製継手
真空配管継手
NW
VGFF 真空用VG穴あきフランジ
ステンレス製継手
真空配管継手
JIS
NWICFA 真空変換継手 NWフランジxICFフランジ
ステンレス製継手
真空配管継手
NW
ICF
製品を探す
ステンレス製バルブ
ステンレスボールバルブ
ステンレスバタフライバルブ
ステンレスゲートバルブ
ステンレスグローブバルブ
ステンレスチャッキバルブ
ステンレスダイヤフラムバルブ
エアー駆動バルブ
電動バルブ
その他バルブ
ステンレス製継手
サニタリー継手
溶接
ヘルール
ユニオン
機器類
海外規格継手
3A
DIN
SMS
RJT
真空配管継手
NW
ICF
JIS
ISO
アームロックカップリング
その他
mail_outline
お問い合わせ