loader image

株式会社コンサス株式会社コンサス

loginログイン

Products
製品情報

溶接配管とヘルール配管を45度で接続

EQ-FW 片ヘルール45°エルボ

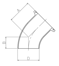
サイズ表

材質ステンレス304/ステンレス316L
サイズDAB
1S25.436.815.8
1.25S31.8
1.5S38.144.723.7
2S50.852.631.6
2.5S63.563.042.0
3S76.373.652.6
3.5S89.1
4S101.694.673.6

製品資料ダウンロード

製品資料をダウンロードするには会員登録が必要になります。

mailお問い合わせ

会員登録せずに資料提供を希望される方は以下より
お気軽にお問い合わせください。

mail_outlineお問い合わせ